koempf24_ch Logo
Unsere Seite verwendet Cookies und ähnliche Technologien, um die Benutzererfahrung auf unserer Website zu verbessern, Inhalte und Anzeigen zu personalisieren und die Nutzung unserer Website zu analysieren. Mit Ihrer Einwilligung stimmen Sie der Verwendung von Cookies sowie der Verarbeitung Ihrer persönlichen Daten zu, um Ihnen ein bestmögliches Surferlebnis und mehr Funktionen zu bieten.

Sie können Ihre Einwilligung jederzeit in den Cookie-Einstellungen anpassen oder widerrufen.
Experten-Beratung Lassen Sie sich von unseren Experten über das Kontaktformular beraten.
Artikelnummer: 4363286
Hier können Sie unsere qualifizierten Fachberater zur Planung Ihrer Bestellung kontaktieren.
Zum Kontaktformular
Hier erhalten Sie allgemeine Informationen zum Bestellprozess, der Lieferung, der Zahlung und mehr.
Zum FAQ
Hier können Sie Feedback zu dieser Seite abgeben oder unerwartete Inhalte und Auffälligkeiten melden.

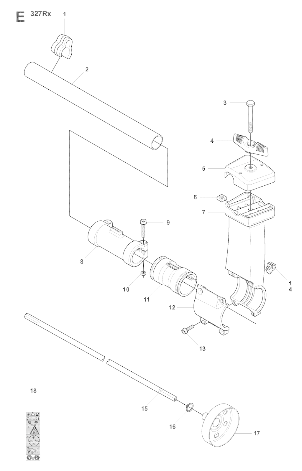
Husqvarna Rasentrimmer 327 Lx, 20080900001-Current

Husqvarna Rasentrimmer 327 Lx, 20080900001-Current

Nicht lieferbar
Dieser Artikel ist leider nicht mehr zu bestellen. Wir empfehlen Ihnen eine alternative Artikelwahl aus dieser Kategorie. Wir wünschen Ihnen viel Spaß beim Stöbern.
Andere Produkte der Kategorie Husqvarna Ersatzteilzeichnungen
Artikel-Nr.: 4363286
  • Deutschlands bester Händler
  • Trusted Shops Käuferschutz
  • Rechnungskauf
  • Montageservice
  • Verlängerte Rückgabefrist

Husqvarna Logo

Husqvarna

Der schwedische Hersteller Husqvarna bietet Ihnen Motorgeräte für die Forst-, Garten- sowie Landschaftspflege. Bereits 1689 begann die Unternehmensgeschichte, damals noch mit der Herstellung von Musketen. Somit profitiert das Unternehmen von mehr als 325 Jahre langer Erfahrung – und somit auch seine Kunden.

Die Zufriedenheit der Kunden ist dem international bekannten Unternehmen besonders wichtig. Daher arbeitet Husqvarna eng mit dem Anwender zusammen, auch nach dem Kauf steht das Unternehmen seinen Käufern mit Rat und Tat zur Seite. Sie können sich bei den Husqvarna Produkten daher auf eine kompromisslose Qualität, Benutzerfreundlichkeit sowie Spitzenleistung verlassen.
 

Garantie

Als unser Kunde genießen Sie auch nach dem Kauf Ihres Husqvarna-Produkts zahlreiche Vorteile! Im Garantiefall sind wir Ihr erster Ansprechpartner und werden Ihnen gerne weiterhelfen. Wir verfügen über eine eigene Hersteller-Werkstatt, sind qualifiziert und berechtigt, im Garantiefall alle nötigen Reparaturen an Ihrem Husqvarna-Gerät durchzuführen.

Das bedeutet für Sie: Sie können sich jederzeit an uns wenden, als Ihr Händler bei dem Sie die Ware gekauft haben sind wir stets die erste Adresse. Selbstverständlich steht es Ihnen jedoch frei, sich an jeden anderen autorisierten Husqvarna-Händler zu wenden.

Gegen Vorlegen Ihres Kaufbeleges (inklusive ausgefüllter Garantiekarte) aus unserem Shop können Sie wohnortnah - in ganz Europa, in der Schweiz und in Großbritannien - Ihr registriertes Produkt zur Garantieüberprüfung vorlegen. Der lokale Husqvarna Servicehändler wird im Garantiefall defekte Teile ausschließlich durch original Husqvarna-Ersatzteile und Zubehör ersetzen. 

 

Husqvarna Händler mit Onlineshop 

Ausschließlich autorisierte, qualifizierte Händler dürfen Husqvarna Produkte verkaufen. So erhalten Sie als Kunde fachgerechte Auskunft zu Ihren Fragen. Wir sind ein autorisierter Husqvarna Fachhändler mit eigener Werkstatt. Vor jeder Auslieferung werden die Geräte entsprechend der Herstellervorgaben geprüft.

 

Stationärer Handel:
Kömpf Baumarkt GmbH
Leibnizstr. 2
75365 Calw

 

Husqvarna Geräte

Husqvarna AB
Regeringsgatan 28
11153 Stockholm
Schweden
verkauf@husqvarna.de
Verantwortliche Person:
Husqvarna Deutschland GmbH
Hans-Lorenser-Strasse 40
89079 Ulm
Deutschland
verkauf@husqvarna.de

241 von insgesamt 241 eingezeichneten Ersatzteilen in Explosionszeichnung Nr. 1

1
Husqvarna 725 23 80-51 - SCHRAUBE M6X50
1x
2,87 CHF
1
Husqvarna 725 23 86-51 - SCHRAUBE M6X80
1x
4,24 CHF
1
Husqvarna 502 21 12-01 - Klammer
1x
5,08 CHF
1
Husqvarna 537 42 45-11 - GRIFF KPL.
1x
78,15 CHF
1
Husqvarna 544 14 36-04 - GEHAEUSE KPL.
1x
76,68 CHF
1
Husqvarna 537 21 32-10 - KNEBEL
1x
4,34 CHF
1
Husqvarna 503 87 33-05 - KLINKENSATZ
1x
17,27 CHF
1
Husqvarna 503 87 33-05 - KLINKENSATZ
1x
17,27 CHF
1
Husqvarna 502 49 36-01 - KURZSCHLUSSKABEL
1x
7,45 CHF
1
Husqvarna 537 30 96-01 - KLEMMHUELSE KPL.
1x
25,76 CHF
1
Husqvarna Balance 55 Tragegurt
1x
103,86 CHF
2
Husqvarna 503 85 63-01 - MUTTER
1x
4,52 CHF
2
Husqvarna 725 23 78-51 - Schraube
1x
2,53 CHF
2
Husqvarna 503 88 88-01 - ROHR
1x
102,77 CHF
2
Husqvarna 502 20 38-01 - GRIFF
1x
5,45 CHF
2
Husqvarna 502 65 41-01 - VERKABELUNG
1x
34,85 CHF
2
Husqvarna 537 41 90-01 - STOPPSCHALTER
1x
14,61 CHF
2
Husqvarna 502 48 13-01 - FILTERDECKEL
1x
8,32 CHF
2
Husqvarna 735 31 08-20 - FEDERRING 4X9
2x
5,08 CHF
2
Husqvarna 735 31 08-20 - FEDERRING 4X9
2x
5,08 CHF
2
Husqvarna 537 22 18-01 - FUNKENFAENGERNETZ
1x
4,92 CHF
2
Husqvarna 503 21 68-25 - SCHRAUBE
1x
1,58 CHF
2
Husqvarna 503 94 02-03 - Lager m. Deckel
1x
36,14 CHF
2
Husqvarna 503 97 43-01 - DECKEL
1x
7,66 CHF
2
Husqvarna 725 23 68-71 - SCHRAUBE
2x
1,80 CHF
2
Husqvarna 503 99 61-01 - BAND
3x
5,08 CHF
3
Husqvarna 537 28 56-01 - Flansch
1x
13,36 CHF
3
Husqvarna 503 87 90-01 - KNEBEL
1x
4,18 CHF
3
Husqvarna 503 72 29-01 - DECKEL
1x
7,06 CHF
3
Husqvarna 503 22 10-13 - MUTTER
1x
5,08 CHF
3
Husqvarna 503 21 66-18 - SCHRAUBE
5x
5,08 CHF
3
Husqvarna 503 20 03-16 - SCHRAUBE M5x16
4x
5,08 CHF
3
Husqvarna 740 68 11-21 - DICHTUNG
1x
4,46 CHF
3
Husqvarna 503 87 36-01 - FEDER
2x
2,36 CHF
3
Husqvarna 503 87 36-01 - FEDER
1x
2,36 CHF
3
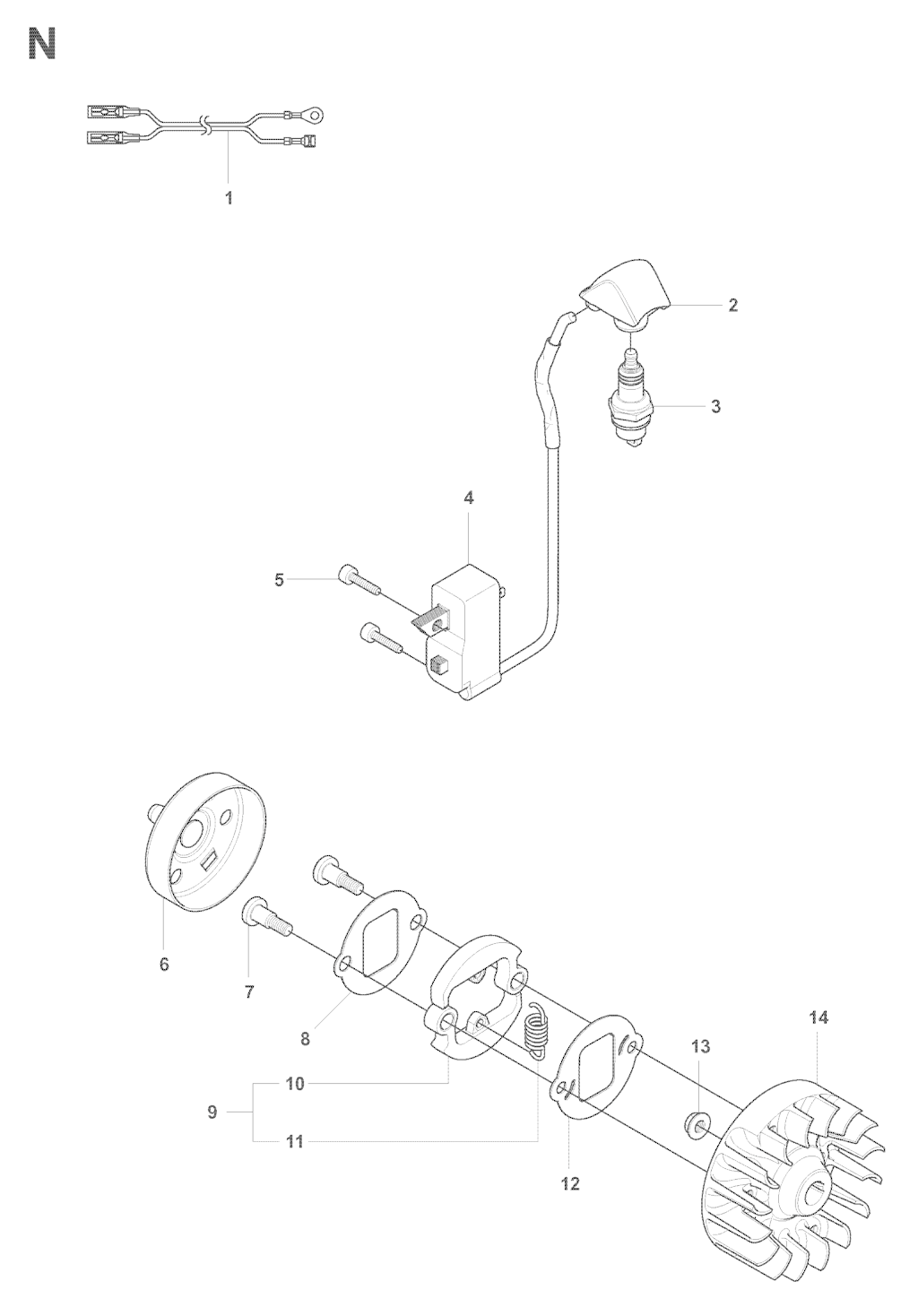
Husqvarna 503 23 51-09 - ZüNDKERZE RCJ6Y
1x
3,59 CHF
3
Husqvarna 503 21 68-25 - SCHRAUBE
1x
1,58 CHF
3
Husqvarna 503 94 05-01 - SCHALE
1x
13,10 CHF
3
Husqvarna 503 48 05-01 - SCHRAUBE
2x
5,08 CHF
3
Husqvarna 537 04 75-01 - KLAMMER
1x
2,43 CHF
3
Husqvarna 501 60 02-03 - SCHRAUBENZIEHER
1x
1,06 CHF
3
Husqvarna 503 99 61-03 - BAND
1x
3,49 CHF
4
Husqvarna 537 29 26-01 - SCHALE
1x
4,98 CHF
4
Husqvarna 503 23 00-61 - SCHEIBE
1x
2,07 CHF
4
Husqvarna 502 20 38-01 - GRIFF
1x
5,45 CHF
4
Husqvarna 502 21 12-01 - Klammer
1x
5,08 CHF
4
Husqvarna 537 16 02-02 - GRIFFTEIL
1x
42,24 CHF
4
Husqvarna 537 16 02-03 - GRIFFTEIL
1x
17,25 CHF
4
Husqvarna 544 10 02-02 - GRIFFTEIL
1x
21,49 CHF
4
Husqvarna 503 21 35-12 - SCHRAUBE
2x
5,08 CHF
4
Husqvarna 502 49 90-01 - HALTER
1x
9,08 CHF
4
Husqvarna 537 02 02-01 - ABDECKUNG
1x
21,80 CHF
4
Husqvarna 537 29 34-01 - ADAPTER
1x
18,70 CHF
4
Husqvarna 502 21 58-01 - SECHSKANTSCHLUESSEL
1x
0,79 CHF
4
Husqvarna 537 11 35-01 - HALTER
1x
5,08 CHF
41A
Husqvarna 531 00 45-52 - DICHTUNGSSATZ
1x
12,03 CHF
42B
Husqvarna 531 00 45-53 - DICHTUNGSSATZ
1x
14,46 CHF
5
Husqvarna 537 23 49-01 - MITNEHMER
1x
31,48 CHF
5
Husqvarna 503 88 88-01 - ROHR
1x
102,77 CHF
5
Husqvarna 503 88 88-01 - ROHR
1x
102,77 CHF
5
Husqvarna 537 37 63-01 - SCHUTZ-KLEMME
1x
7,45 CHF
5
Husqvarna 537 41 90-01 - STOPPSCHALTER
1x
14,61 CHF
5
Husqvarna 503 21 66-18 - SCHRAUBE
2x
5,08 CHF
5
Husqvarna 503 87 80-01 - GASSPERRE
1x
5,30 CHF
5
Husqvarna 502 48 16-01 - ARMSCHUTZ
1x
8,35 CHF
5
Husqvarna 503 21 75-50 - SCHRAUBE
2x
2,14 CHF
5
Husqvarna 503 73 58-01 - BUSHING
2x
5,06 CHF
5
Husqvarna 537 08 51-03 - ZYLINDER KPL. Durchmesser 34 mm
1x
153,62 CHF
5
Husqvarna 503 94 05-01 - SCHALE
1x
13,10 CHF
5
Husqvarna 537 02 07-01 - LEERLAUFSTELLSCHRAUBE
1x
5,08 CHF
5
Husqvarna 502 27 22-01 - BLATTSCHUTZ
1x
26,41 CHF
5
Husqvarna 537 28 84-01 - FRONTSTUECK
1x
17,98 CHF
6
Husqvarna 502 19 71-01 - MUTTER
1x
3,90 CHF
6
Husqvarna 503 88 23-01 - BEFESTIGUNG
1x
16,00 CHF
6
Husqvarna 503 91 81-01 - HEBEL
1x
7,19 CHF
6
Husqvarna 503 20 03-16 - SCHRAUBE M5x16
1x
5,08 CHF
6
Husqvarna 503 21 77-16 - SCHRAUBE
1x
5,08 CHF
6
Husqvarna 503 21 77-16 - SCHRAUBE
1x
5,08 CHF
6
Husqvarna 503 94 02-03 - Lager m. Deckel
1x
36,14 CHF
6
Husqvarna 503 48 11-01 - PFROPFEN
1x
5,41 CHF
6
Husqvarna 503 21 75-16 - Schraube MT5X16
4x
1,37 CHF
6
Husqvarna 501 69 17-01 - Kombischlüssel
1x
4,79 CHF
6
Husqvarna 537 28 83-01 - FRONTSTUECK
1x
8,15 CHF
7
Husqvarna 503 94 03-01 - ABSTANDSSTUECK
1x
5,20 CHF
7
Husqvarna 503 20 07-16 - SCHRAUBE
1x
5,08 CHF
7
Husqvarna 502 20 38-01 - GRIFF
1x
5,45 CHF
7
Husqvarna 537 34 86-01 - BEFESTIGUNG *U KV
1x
29,19 CHF
7
Husqvarna 537 17 42-01 - FEDER
1x
2,66 CHF
7
Husqvarna 503 96 14-01 - VIBRATIONSDAEMPFER
1x
4,78 CHF
7
Husqvarna Kraftstofffilter B
1x
7,27 CHF
7
Husqvarna 503 84 29-02 - SCHRAUBE
2x
2,02 CHF
7
Husqvarna 503 47 96-01 - SCHRAUBE
1x
5,08 CHF
7
Husqvarna Spritzschutz PVC für Trimmy-Motorsense 525LK
1x
26,20 CHF
7
Husqvarna Winkelgetriebefett Eco
1x
12,39 CHF
7
Husqvarna 537 27 59-01 - SCHUTZ
1x
31,60 CHF
8
Husqvarna 738 21 98-00 - KUGELLAGER
1x
6,02 CHF
8
Husqvarna 503 20 07-16 - SCHRAUBE
1x
5,08 CHF
8
Husqvarna 503 94 10-01 - HAKEN
1x
6,73 CHF
8
Husqvarna 537 34 88-03 - KLEMME
1x
15,69 CHF
8
Husqvarna 537 16 07-01 - GASSPERRE
1x
5,87 CHF
8
Husqvarna 544 10 03-02 - GRIFFTEIL
1x
23,59 CHF
8
Husqvarna 503 22 24-01 - MUTTER M5 x 0,8 geschlitzt
1x
1,24 CHF
8
Husqvarna 503 49 71-01 - DICHTUNG
1x
2,71 CHF
8
Husqvarna 503 93 66-01 - PRIMER
1x
12,80 CHF
8
Husqvarna 537 04 67-02 - SCHEIBE KUPPLUNG
1x
3,90 CHF
8
Husqvarna 503 25 05-01 - LAGER
1x
5,30 CHF
8
Husqvarna 537 04 89-01 - MEMBRANENSATZ
1x
16,87 CHF
8
Husqvarna 503 21 07-16 - SCHRAUBE
1x
5,08 CHF
8
Husqvarna 537 35 36-01 - LOOP
1x
14,40 CHF
8
Husqvarna 502 02 28-01 - HAKEN KPL.
1x
9,85 CHF
9
Husqvarna 503 20 15-01 - PFROPFEN
1x
4,62 CHF
9
Husqvarna 503 94 10-01 - HAKEN
1x
6,73 CHF
9
Husqvarna 731 23 14-01 - SECHSKANTMUTTER
1x
1,23 CHF
9
Husqvarna 503 20 02-25 - SCHRAUBE
2x
5,08 CHF
9
Husqvarna 544 10 08-01 - RUECKHOLFEDER
1x
2,45 CHF
9
Husqvarna 503 93 66-01 - PRIMER
1x
12,80 CHF
9
Husqvarna 537 18 49-01 - KLAMMER
1x
3,49 CHF
9
Husqvarna 537 03 22-01 - KUPPLUNG
1x
51,18 CHF
9
Husqvarna 537 33 67-01 - FEDERRING
1x
5,08 CHF
9
Husqvarna 537 02 04-01 - DICHTUNG
1x
3,76 CHF
9
Husqvarna 537 13 04-02 - KNOPF
1x
4,50 CHF
9
Husqvarna 502 02 30-02 - SPERRE
1x
4,46 CHF
10
Husqvarna 503 20 14-12 - SCHRAUBE M5x12
1x
1,37 CHF
10
Husqvarna 731 23 14-01 - SECHSKANTMUTTER
1x
1,23 CHF
10
Husqvarna 731 23 14-01 - SECHSKANTMUTTER
2x
1,23 CHF
10
Husqvarna 735 58 08-10 - SCHEIBE
1x
0,54 CHF
10
Husqvarna 503 21 75-25 - SCHRAUBE
2x
5,08 CHF
10
Husqvarna 537 17 43-01 - FEDER
1x
2,66 CHF
10
Husqvarna 503 87 79-03 - GASHEBEL
1x
7,19 CHF
10
Husqvarna 503 20 03-16 - SCHRAUBE M5x16
1x
5,08 CHF
10
Husqvarna 537 00 84-01 - GRIFF
1x
7,36 CHF
10
Husqvarna 737 44 08-00 - * FEDERRING
1x
0,59 CHF
10
Husqvarna 537 02 01-01 - DICHTUNG
1x
3,76 CHF
10
Husqvarna Kombispritzschutz-Motorsense 525LK
1x
29,26 CHF
10
Husqvarna 537 35 01-01 - HAKEN
1x
7,19 CHF
10
Husqvarna 586 34 10-01- FEDER
1x
2,79 CHF
11
Husqvarna 503 20 07-25 - SCHRAUBE
1x
1,57 CHF
11
Husqvarna 502 19 71-01 - MUTTER
1x
3,90 CHF
11
Husqvarna 502 19 71-01 - MUTTER
1x
3,90 CHF
11
Husqvarna 537 16 03-02 - GRIFFTEIL
1x
20,24 CHF
11
Husqvarna 537 16 03-01 - GRIFFTEIL
1x
19,58 CHF
11
Husqvarna 544 10 17-02 - VIBRATIONSDAEMPFER
1x
6,16 CHF
11
Husqvarna 503 20 03-16 - SCHRAUBE M5x16
1x
5,08 CHF
11
Husqvarna 503 96 13-01 - SCHRAUBE
1x
1,58 CHF
11
Husqvarna 503 91 10-01 - AUFHAENGUNG
4x
4,70 CHF
11
Husqvarna 503 81 60-01 - FEDER
1x
5,27 CHF
11
Husqvarna 537 02 00-01 - PUMPENTEIL
1x
12,31 CHF
11
Husqvarna 503 21 07-16 - SCHRAUBE
1x
5,08 CHF
11
Husqvarna 725 23 31-51 - SCHRAUBE
1x
1,37 CHF
11
Husqvarna 502 02 29-02 - HAKEN
1x
12,60 CHF
12
Husqvarna 738 21 99-00 - KUGELLAGER 24X9X7
1x
6,02 CHF
12
Husqvarna 731 23 14-01 - SECHSKANTMUTTER
1x
1,23 CHF
12
Husqvarna 503 21 68-16 - SCHRAUBE
3x
1,37 CHF
12
Husqvarna 735 58 08-10 - SCHEIBE
1x
0,54 CHF
12
Husqvarna 537 34 87-01 - DECKEL F.BEFESTIGUNG
1x
7,87 CHF
12
Husqvarna 503 21 66-18 - SCHRAUBE
2x
5,08 CHF
12
Husqvarna 740 42 06-00 - O-RING
1x
3,06 CHF
12
Husqvarna 537 00 84-01 - GRIFF
1x
7,36 CHF
12
Husqvarna 537 04 68-02 - SCHEIBE
1x
3,90 CHF
12
Husqvarna 737 44 08-00 - * FEDERRING
1x
0,59 CHF
12
Husqvarna 537 06 69-01 - DICHTUNG E-TECH II NUR USA
1x
3,76 CHF
12
Husqvarna 503 53 57-01 - SIEB
1x
3,86 CHF
12
Husqvarna 537 31 29-01 - SCHUTZ
1x
7,71 CHF
12
Husqvarna 735 31 09-20 - FEDERRING
1x
0,54 CHF
13
Husqvarna 738 21 99-02 - KUGELLAGER 24X9X7
1x
5,30 CHF
13
Husqvarna 503 99 78-01 - GRIFF
1x
13,17 CHF
13
Husqvarna 735 31 12-00 - SPERRING
1x
5,08 CHF
13
Husqvarna 544 11 21-01 - HALTER
1x
2,86 CHF
13
Husqvarna 503 20 03-16 - SCHRAUBE M5x16
1x
5,08 CHF
13
Husqvarna 740 42 06-00 - O-RING
1x
3,06 CHF
13
Husqvarna 503 20 03-25 - SCHRAUBE
2x
1,80 CHF
13
Husqvarna 731 71 16-51 - FLANSCHMUTTER
1x
2,32 CHF
13
Husqvarna 537 08 85-01 - DICHTUNG E-TECH II NUR USA
1x
3,76 CHF
13
Husqvarna 503 48 01-01 - SCHRAUBE
1x
5,08 CHF
13
Husqvarna Einfacher Tragegurt
1x
37,23 CHF
13
Husqvarna 537 17 54-01 - NIETE
3x
5,08 CHF
14
Husqvarna 735 31 11-00 - FEDERRING
1x
5,08 CHF
14
Husqvarna 735 31 12-00 - SPERRING
1x
5,08 CHF
14
Husqvarna 502 28 61-01 - KLAMMER
1x
5,08 CHF
14
Husqvarna 503 21 66-18 - SCHRAUBE
1x
5,08 CHF
14
Husqvarna 503 72 43-09 - GRIFF
1x
51,23 CHF
14
Husqvarna 503 20 03-20 - SCHRAUBE
1x
5,08 CHF
14
Husqvarna 503 96 13-01 - SCHRAUBE
1x
1,58 CHF
14
Husqvarna 537 24 96-02 - SCHWUNGRAD
1x
57,80 CHF
14
Husqvarna 537 06 68-01 - KURBELGEHAEUSE E-TECH II USA
1x
3,63 CHF
14
Husqvarna 503 48 00-01 - STIFT
1x
3,47 CHF
14
Husqvarna Tragegurt Standard
1x
37,69 CHF
14
Husqvarna 537 21 63-02 - * TRAGGURT DOPPEL
1x
48,42 CHF
15
Husqvarna 735 31 25-10 - FEDERRING
1x
5,08 CHF
15
Husqvarna 731 23 14-01 - SECHSKANTMUTTER
1x
1,23 CHF
15
Husqvarna 735 31 12-00 - SPERRING
1x
5,08 CHF
15
Husqvarna 503 21 66-18 - SCHRAUBE
1x
5,08 CHF
15
Husqvarna 544 10 17-02 - VIBRATIONSDAEMPFER
1x
6,16 CHF
15
Husqvarna 503 20 03-16 - SCHRAUBE M5x16
1x
5,08 CHF
15
Husqvarna 502 48 15-01 - DECKEL
1x
20,03 CHF
15
Husqvarna 503 66 59-01 - HEBEL
1x
4,21 CHF
15
Husqvarna 503 73 40-01 - SCHNALLE AUF TRAGEGURT
1x
7,28 CHF
16
Husqvarna 503 20 14-12 - SCHRAUBE M5x12
1x
1,37 CHF
16
Husqvarna 503 20 07-12 - SCHRAUBE
1x
5,08 CHF
16
Husqvarna 735 31 12-00 - SPERRING
1x
5,08 CHF
16
Husqvarna 537 17 28-01 - GRIFF
1x
10,86 CHF
16
Husqvarna 502 65 13-01 - VERKABELUNG
1x
26,74 CHF
16
Husqvarna 503 20 03-16 - SCHRAUBE M5x16
1x
5,08 CHF
16
Husqvarna 537 02 03-01 - FEDER *U KV
1x
2,38 CHF
16
Husqvarna 503 73 41-02 - PLATTE F. SCHULTERGURT
1x
10,77 CHF
17
Husqvarna 503 79 56-01 - AUFKLEBER
1x
2,34 CHF
17
Husqvarna 503 21 66-18 - SCHRAUBE
1x
5,08 CHF
17
Husqvarna 503 20 02-45 - SCHRAUBE
1x
2,22 CHF
17
Husqvarna 502 53 16-01 - KURZSCHLUSSKABEL
1x
13,50 CHF
17
Husqvarna 503 20 03-16 - SCHRAUBE M5x16
1x
5,08 CHF
17
Husqvarna 503 47 97-01 - NADELVENTIL
1x
10,83 CHF
17
Husqvarna 502 02 28-02 - HAKEN, KPL.
1x
12,69 CHF
18
Husqvarna 503 79 56-01 - AUFKLEBER
1x
2,34 CHF
18
Husqvarna 537 17 29-01 - BEFESTIGUNG
1x
4,76 CHF
18
Husqvarna 544 17 17-03 - GASZUG KPL.
1x
12,57 CHF
18
Husqvarna 503 20 03-16 - SCHRAUBE M5x16
1x
5,08 CHF
19
Husqvarna 503 20 14-12 - SCHRAUBE M5x12
1x
1,37 CHF
19
Husqvarna 503 21 66-18 - SCHRAUBE
1x
5,08 CHF
19
Husqvarna 537 36 00-01 - GRIFF
1x
41,19 CHF
19
Husqvarna 537 01 25-01 - KUGEL
1x
2,86 CHF
20
Husqvarna 503 21 66-18 - SCHRAUBE
1x
5,08 CHF
20
Husqvarna 544 02 09-01 - KLAMMER
1x
7,71 CHF
20
Husqvarna 503 20 03-16 - SCHRAUBE M5x16
1x
5,08 CHF
20
Husqvarna 537 01 26-01 - FEDER
1x
2,36 CHF
21
Husqvarna 502 21 12-01 - Klammer
1x
5,08 CHF
21
Husqvarna 503 21 66-18 - SCHRAUBE
1x
5,08 CHF
21
Husqvarna 503 21 77-16 - SCHRAUBE
1x
5,08 CHF
21
Husqvarna 537 37 03-01 - CHOKEKLAPPE
1x
6,90 CHF
22
Husqvarna 503 20 14-12 - SCHRAUBE M5x12
1x
1,37 CHF
22
Husqvarna 503 21 66-18 - SCHRAUBE
1x
5,08 CHF
22
Husqvarna 537 35 34-56 - AUFKLEBER
1x
2,36 CHF
22
Husqvarna 537 37 03-01 - CHOKEKLAPPE
1x
6,90 CHF
23
Husqvarna 503 20 03-16 - SCHRAUBE M5x16
1x
5,08 CHF
23
Husqvarna 537 35 34-57 - AUFKLEBER
1x
2,36 CHF
23
Husqvarna 503 48 18-01 - SCHRAUBE
1x
5,08 CHF
24
Husqvarna 537 35 34-58 - AUFKLEBER
1x
2,36 CHF
25
Husqvarna 537 35 34-59 - AUFKLEBER
1x
2,36 CHF
26
Husqvarna 537 35 34-60 - AUFKLEBER
1x
2,36 CHF
30
Husqvarna 503 47 92-01 - SCHRAUBE
1x
5,08 CHF
34
Husqvarna 503 47 90-01 - SCHRAUBE
1x
0,93 CHF
not shown
Husqvarna 501 48 54-02 - Kerzenschuh kompl.
1x
8,68 CHF

Produktbewertungen unserer Kunden
Unsere Bewertungen sind zu 100% echt.
Bewertungen von Kunden, die ihre Ware nicht bei uns gekauft haben, werden entsprechend gekennzeichnet.
Bewertungen mit diesem Symbol stammen von verifizierten Käufern!
Zu diesem Produkt gibt es noch keine Kundenbewertungen.
Sie können die erste Person sein, die zu diesem Produkt eine Bewertung schreibt.